Вставка резьбовая DIN 16903 форма J

Короткая шестигранная закладная втулка с глухим резьбовым отверстием для литья пластмасс под давлением. Обеспечивает высокое удержание, защиту резьбы и устойчивость к проворачиванию. Подходит для конструкций, где требуется герметичность и долговечность соединения.

Модель: DIN 16903 форма J

Описание
Размеры
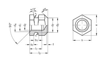
Чертеж

Описание

Резьбовая вставка DIN 16903 форма J — это короткая шестигранная закладная втулка закрытого типа с глухим резьбовым отверстием, предназначенная для применения при литье пластмасс под давлением. Вставка размещается в форме до заливки материала, что обеспечивает монолитное и прочное крепление без необходимости последующей механической обработки.
Шестигранная наружная форма надёжно фиксируется в пластике, предотвращая проворачивание и выталкивание втулки под воздействием осевых, крутящих и вибрационных нагрузок. Глухое отверстие обеспечивает дополнительную защиту резьбы от попадания пыли, грязи, влаги и агрессивных сред, что особенно важно при эксплуатации изделий в условиях повышенной влажности или загрязнённости.
Материалы исполнения:
  • Латунь без покрытия
  • Сталь автоматная без покрытия
  • Нержавеющая сталь
Преимущества:
  • Шестигранная форма обеспечивает максимальную устойчивость к проворачиванию;
  • Глухое отверстие защищает внутреннюю резьбу от загрязнений и влаги;
  • Прочное сцепление с пластиком при литье под давлением;
  • Подходит для многократной сборки-разборки;
  • Компактная конструкция для изделий с ограниченной толщиной стенки;
  • Совместимость с широким спектром конструкционных пластмасс и композитов.
Применение:
Вставки DIN 16903 форма J используются в изделиях, где требуется прочное, герметичное и долговечное резьбовое соединение. Применяются в электротехнических изделиях, корпусах приборов, бытовой технике, промышленном оборудовании, в сборочных узлах из пластика, композитов и металла.
Широко используются в медицинских инструментах, электронике, корпусах оргтехники, банковских терминалах, автомобильных узлах (двигатели, КПП, крепёжные точки), аэрокосмической и военной технике, направляющих, встроенных втулках, шпильках, трубчатых элементах и других резьбовых соединениях, где требуется высокая надёжность и стабильность крепления.

Размеры

При необходимости мы можем изготовить изделие любых размеров и из любого материала по индивидуальному заказу.

Чертеж